有问题就有答案
ip定位的原理是什么
很高兴回答你的问题。在解释定位原理之前,我们先了解一下ip是什么。ip是网络间计算机相互连接进行通讯而设计的协议。针对您所提的问题,我们应该把“ip”改为“ip地址”更适合一些。那么ⅰp地址又是什么鬼东东呢?ⅰp地址是ip协议提供的一种统一的地址格式,是一种逻辑地址。在互联网上ⅰp地址必须是唯一的,这是它的特性和制定规则之一。网上的每一台主机都对应一个唯一的ⅰp地址。也就是说一台主机只能有一个合法的ⅰp地址,一个ⅰp地址只能被一台主机使用。这跟一个人只能有一张合法身份证是一个道理。
明白了上面三点,我们再回到问题本身。联网的每一台主机,都对应着一个唯一的ⅰp地址,这一点为我们定位ⅰp地址提供了基础条件。我们找到ⅰp地址,也就找到了对应的主机,而且是唯一的。找到了主机就等于确定了实现中实际的地理位置。问题的关键就是确定ⅰp地址。说到这儿,就要大名鼎鼎的ⅰp定位技术出场了。它是通过ⅰp地址来确定主机的地理位置的一项技术。其原理是基于Whois和BGP数据、基准点数据挖掘、网络主被动测量和路径分析等。其定位精度可达街道级别。其中常用的有如下3种,一是通过查询Whoⅰs数据库内ip地址的信息,来确定实际地理位置。二是通过DNS中的LOS的记录来确定主机的实际地理位置。三是通过用注册时填写的个人信息来确定主机的实际地理位置。随着科技的发展,还会有更多更精准的方法实现ⅰp地址的定位。如果题主想体验一下如上的具体操作,可以学习一点黑客技术。希望上面的回答对你有帮助。可以点击关注加我,方便以后随时为你解答。



做期货,日内交易怎样判断多空方向
日内行情具有一定的偶然性和突发性,找到好的入场点很重要。分享一种操作方法供参考交流学习。方法适用于日内波动比较大的品种螺纹、假酒。
1.入场点的选择看三分钟的MACD指标。
2.入场的时间看三分钟MAC d指标和15分钟MAC d指标相结合。
以买多为例。当行情下跌或者调整两波基本到位,准备要反转的时候。我们就需要看行情反转的力度和三分钟MAC d指标的平滑度和十五分钟MAC d指标的平滑度。
如果三分钟MACd指标由绿翻红,而且我们判断三分钟指标的延续,能够使15分钟的MAC d指标也由绿翻红。这个时候结合盘面在支撑位置买入是最好的买点。
止损的方法不唯一。可以是三分钟MAC d指标转绿绿,然后突破平台的支撑位。也可以是等到15分钟MAC d转绿在止损。也可以是买入价止损。具体要根据操作习惯来执行。
拨打手机号码是怎样确定送往哪个基站的
应邀回答本行业问题。
其实当你拨打一个手机号码的时候,系统是不知道要把信息发给哪个基站的。
拨打一个,在通信系统里成为是一个"寻呼"过程。
2/3G 4G Volte的原理大同小异,原理基本是差不多的。
拨打一个,涉及到的网元里边有一个比较重要的,被称为HLR/HSS,还有一个叫VLR。
HLR是本地位置寄存器,它保存了用户的基本信息,比如、SIM的、签约信息,还有你的位置信息、是否关机等。
VLR是拜访地位置寄存器,它保存了用户的动态的信息和状态信息。
举个例子:你是北京的用户,你到上海,就会向上海的VLR发起注册,上海的VLR会去北京的HLR下载你的基本信息保存在自己的服务器里,并且把你的位置告诉北京的HLR。
当你拨打这个北京的手机的时候,交换机会向HLR进行查询,查询到你的位置就可以继续呼叫你了。
当你拨打一个,是一系列的寻呼的过程。不过在最开始的时候,MSC是不知道你在哪个基站下边的。
CDMA系统中寻呼可能是基于Zone的寻呼,基于MSC的寻呼,基于全网的寻呼,这就看运营商如何设置了。
基于Zone寻呼需要设置手机基于Zone的注册,也就是把全网的基站分为某干个区域,每个区域包含一部分基站,当手机离开一个Zone的时候,到另外一个Zone的时候,要向系统发起注册,这样的话核心网就可以知道手机在哪个Zone下边了。
还可能要包含多个Zone的LAC。
MSC可以理解为类似固定"",可能某个城市基站过多,为了管理更合理,有可能要分为多个MSC。
运营商设置寻呼模式,可能是分为多次寻呼,可能第一次是基于Zone(或者LAC),第二次是基于MSC、第三次是全网寻呼,不过具体设置各地不同。
寻呼的过程是一种广播的过程,每一个手机都会寻呼信道,当发现寻呼的是自己的时候,就会响应该寻呼,之后会有一系列的信令过程,最终建立通信。
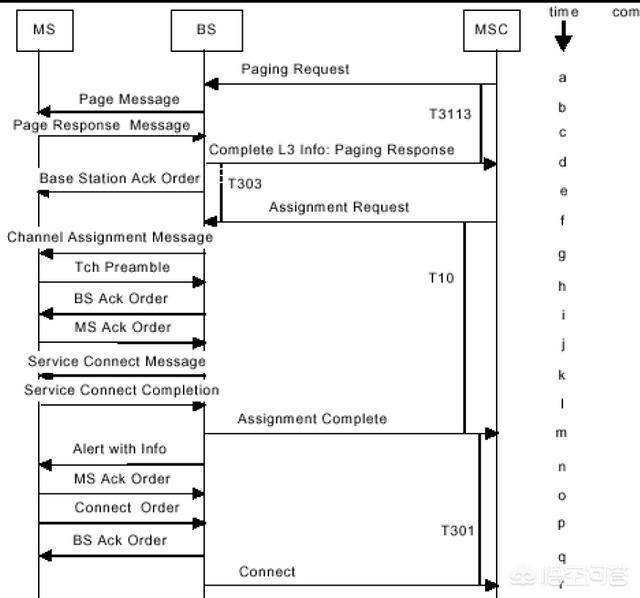
下边是一个C网:MS是手机、BS是基站、MSC是移动交换中心。
MSC负责处理呼叫连接、切换控制、无线信道管理等功能,同时也是移动网络连接传输的PSTN和ISDN等其他网络的接口设备。
总而言之,当你打一个,要经过一系列的寻呼过程,移动通信网络才知道你找的手机在哪个基站下边,还是挺复杂的。
以上个人浅见,欢迎批评指正。喜欢的可以关注我,谢谢!
认同我的看法的请点个赞再走,再次感谢!